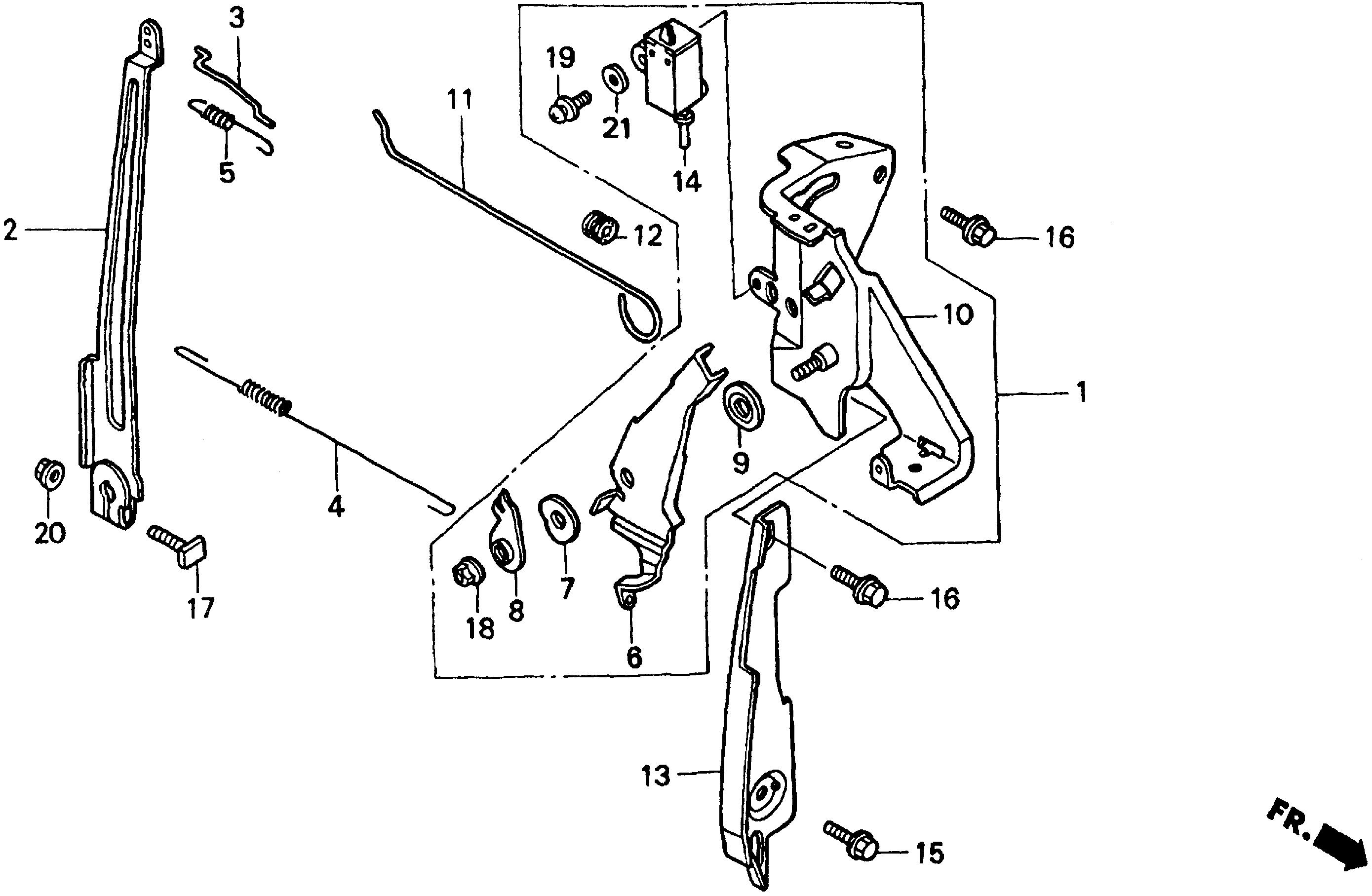
Ref No
Part Number
Description
Serial Range
Qty
Price
Ref No 1
Part Number 16500-ZL8-000
Description CONTROL ASSY.
Serial Range 1000001 - 9999999
Qty
Price $44.38
Add To Cart
Ref No 2
Part Number 16551-ZL9-000
Description ARM, GOVERNOR
Serial Range 1000001 - 9999999
Ref No 3
Part Number 16555-ZL8-000
Description ROD, GOVERNOR
Serial Range 1000001 - 9999999
Qty
Price $2.72
Add To Cart
Ref No 4
Part Number 16561-ZL8-000
Description SPRING, GOVERNOR
Serial Range 1000001 - 9999999
Qty
Price $4.60
Add To Cart
Ref No 5
Part Number 16562-ZL8-800
Description SPRING, THROTTLE RETURN
Serial Range 1000001 - 9999999
Qty
Price $2.26
Add To Cart
Ref No 6
Part Number 16571-ZL8-000
Description LEVER, CONTROL
Serial Range 1000001 - 9999999
Qty
Price $14.44
Add To Cart
Ref No 7
Part Number 16574-ZE1-000
Description SPRING, LEVER
Serial Range 1000001 - 9999999
Qty
Price $4.12
Add To Cart
Ref No 8
Part Number 16575-ZL8-000
Description WASHER, CONTROL LEVER
Serial Range 1000001 - 9999999
Qty
Price $2.32
Add To Cart
Ref No 9
Part Number 16578-ZE1-000
Description SPACER, CONTROL LEVER
Serial Range 1000001 - 9999999
Qty
Price $5.22
Add To Cart
Ref No 10
Part Number 16580-ZL8-000
Description BASE, CONTROL
Serial Range 1000001 - 9999999
Qty
Price $36.18
Add To Cart
Ref No 11
Part Number 16611-ZL8-000
Description ROD, CHOKE CONTROL
Serial Range 1000001 - 9999999
Qty
Price $2.42
Add To Cart
Ref No 12
Part Number 16613-893-000
Description GROMMET, CHOKE ROD
Serial Range 1000001 - 9999999
Qty
Price $3.72
Add To Cart
Ref No 13
Part Number 19612-ZL8-000
Description PLATE, SIDE
Serial Range 1000001 - 9999999
Ref No 14
Part Number 35120-ZL8-003
Description SWITCH ASSY., ENGINE STOP (N.O)
Serial Range 1000001 - 9999999
Qty
Price $13.90
Add To Cart
Ref No 15
Part Number 90013-883-000
Description BOLT, FLANGE (6X12) (CT200)
Serial Range 1000001 - 9999999
Ref No 16
Part Number 90014-952-000
Description BOLT, FLANGE (6X14) (CT200)
Serial Range 1000001 - 9999999
Qty
Price $2.86
Add To Cart
Ref No 17
Part Number 90015-ZE5-010
Description BOLT, GOVERNOR ARM
Serial Range 1000001 - 9999999
Qty
Price $3.06
Add To Cart
Ref No 18
Part Number 90114-SA0-000
Description NUT, SELF-LOCK (6MM)
Serial Range 1000001 - 9999999
Qty
Price $3.90
Add To Cart
Ref No 19
Part Number 93892-04012-00
Description SCREW-WASHER (4X12)
Serial Range 1000001 - 9999999
Qty
Price $0.82
Add To Cart
Ref No 20
Part Number 94050-06000
Description NUT, FLANGE (6MM)
Serial Range 1000001 - 9999999
Qty
Price $0.82
Add To Cart
Ref No 21
Part Number 94103-04000
Description WASHER, PLAIN (4MM)
Serial Range 1000001 - 9999999
Qty
Price $0.88
Add To Cart