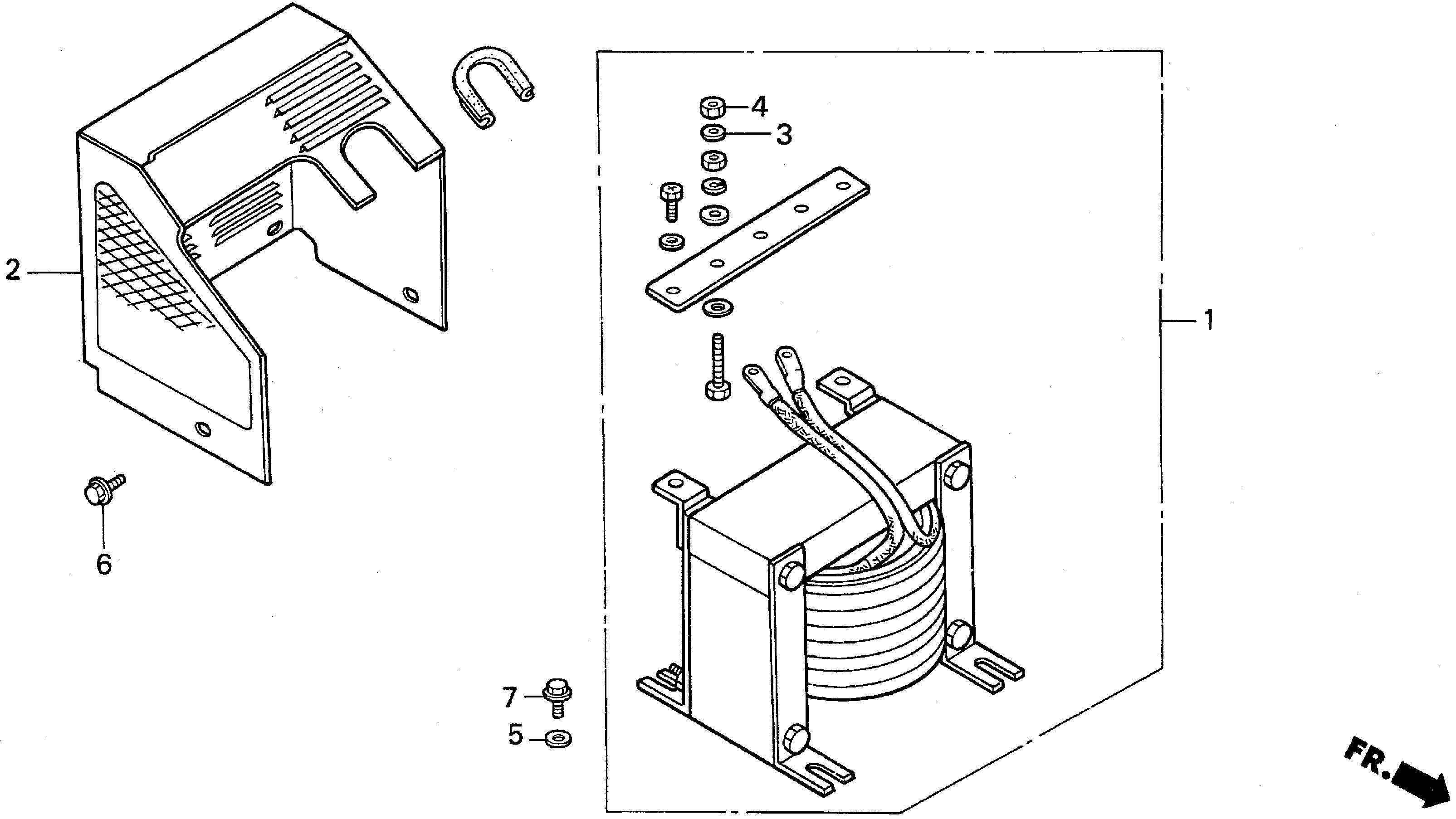
Generators EW EW140 EW140 A EA9-1000001-9999999 REACTOR - Brodner Equipment, Inc.

Ref No
Part Number
Description
Serial Range
Qty
Price

Ref No
1
Part Number
31160-ZB4-811
Description
REACTOR ASSY. (NOT AVAILABLE)
Serial Range
1000001 - 9999999

Ref No
2
Part Number
31195-ZB4-800ZA
Description
COVER, REACTOR *NH105* (MAT BLACK)
Serial Range
1000001 - 9999999

Ref No
3
Part Number
90505-ZA1-811
Description
WASHER, SPRING (6MM)
Serial Range
1000001 - 1002411
Qty
Price
$2.88

Ref No
3
Part Number
94111-06800
Description
WASHER, SPRING (6MM)
Serial Range
1002412 - 9999999
Qty
Price
$1.38

Ref No
4
Part Number
94001-06390-0S
Description
NUT, HEX. (6MM)
Serial Range
1000001 - 1002411
Qty
Price
$1.96

Ref No
4
Part Number
94002-06080-0S
Description
NUT, HEX. (6MM)
Serial Range
1002412 - 9999999
Qty
Price
$1.60

Ref No
5
Part Number
94103-06000
Description
WASHER, PLAIN (6MM)
Serial Range
1002412 - 9999999
Qty
Price
$1.20

Ref No
6
Part Number
95701-06010-00
Description
BOLT, FLANGE (6X10)
Serial Range
1000001 - 9999999
Qty
Price
$1.54

Ref No
7
Part Number
95701-06012-00
Description
BOLT, FLANGE (6X12)
Serial Range
1000001 - 9999999
Qty
Price
$1.98