Generators EW EW140 EW140 A EA9-1000001-9999999 GOVERNOR ARM@CONTROL - Brodner Equipment, Inc.

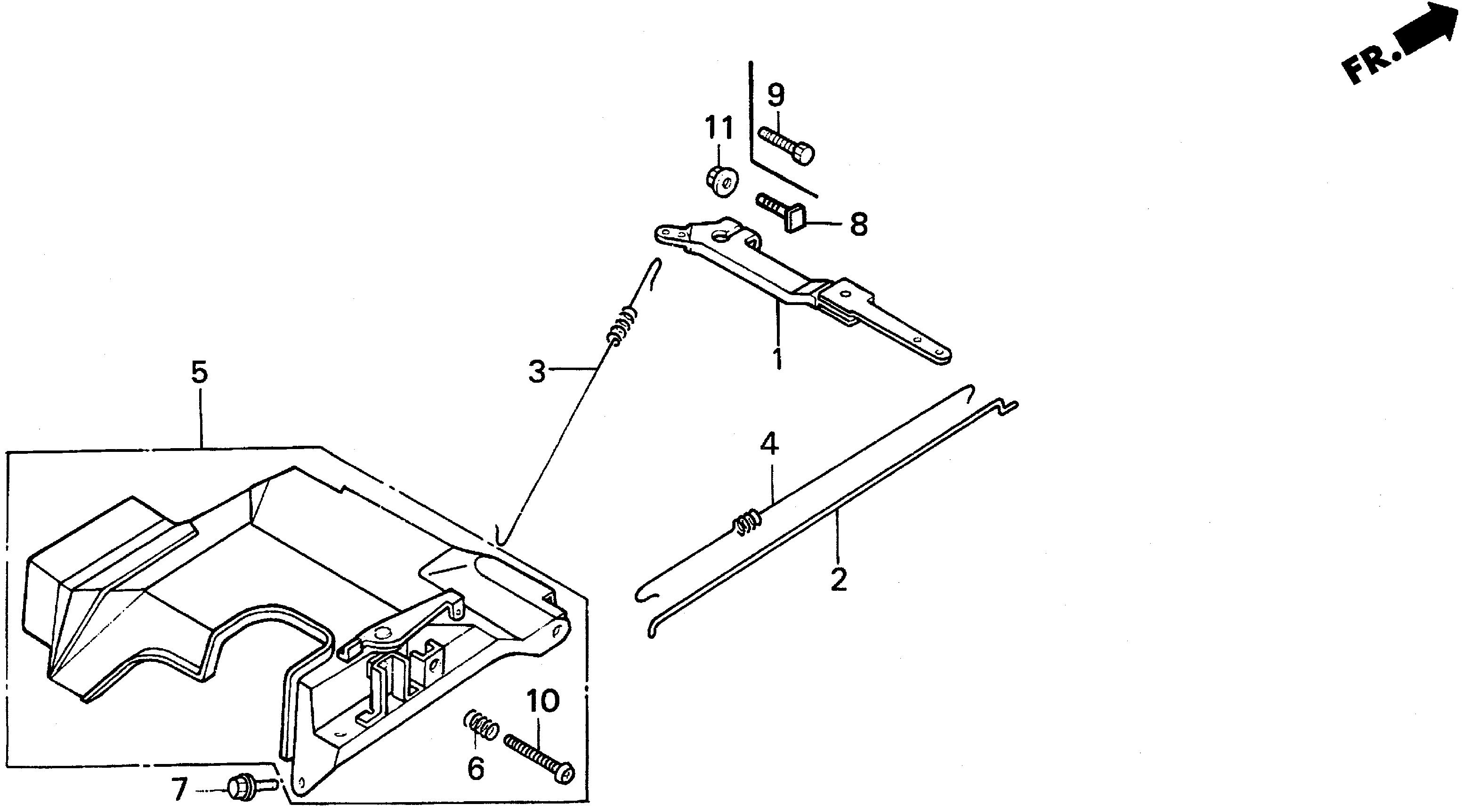
Ref No
Part Number
Description
Serial Range
Qty
Price

Ref No
1
Part Number
16550-ZE2-700
Description
ARM, GOVERNOR
Serial Range
1000001 - 9999999
Qty
Price
$20.48

Ref No
2
Part Number
16555-ZE2-000
Description
ROD, GOVERNOR
Serial Range
1000001 - 9999999
Qty
Price
$5.14

Ref No
3
Part Number
16561-ZE2-000
Description
SPRING, GOVERNOR (L=145.0MM) (WIRE DIAMETER 1.0MM)
Serial Range
1000001 - 9999999
Qty
Price
$5.58

Ref No
4
Part Number
16562-ZE2-700
Description
SPRING, THROTTLE RETURN
Serial Range
1000001 - 9999999
Qty
Price
$4.86

Ref No
5
Part Number
16570-ZE2-711
Description
CONTROL ASSY.
Serial Range
1000001 - 9999999
Qty
Price
$25.64

Ref No
6
Part Number
16584-883-300
Description
SPRING, CONTROL ADJUSTING
Serial Range
1000001 - 9999999
Qty
Price
$4.86

Ref No
7
Part Number
90013-883-000
Description
BOLT, FLANGE (6X12) (CT200)
Serial Range
1000001 - 9999999

Ref No
8
Part Number
90015-ZE5-010
Description
BOLT, GOVERNOR ARM
Serial Range
1094202 - 9999999
Qty
Price
$3.06

Ref No
9
Part Number
92101-06022-0A
Description
BOLT, HEX. (6X22)
Serial Range
1000001 - 1094201
Qty
Price
$1.88

Ref No
10
Part Number
93500-05035-0A
Description
SCREW, PAN (5X35)
Serial Range
1094202 - 9999999
Qty
Price
$1.34

Ref No
11
Part Number
94050-06000
Description
NUT, FLANGE (6MM)
Serial Range
1094202 - 9999999
Qty
Price
$0.82