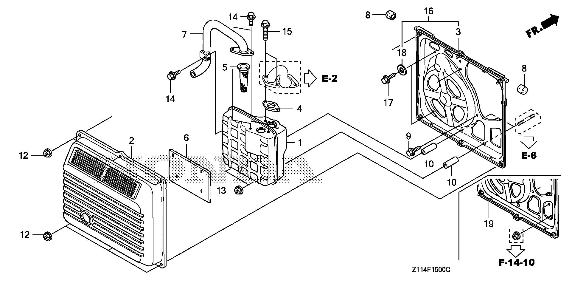
Ref No
Part Number
Description
Serial Range
Qty
Price
Ref No 1
Part Number 18310-Z11-003
Description MUFFLER
Serial Range 1000001 - 9999999
Qty
Price $285.14
Add To Cart
Ref No 2
Part Number 18321-Z11-A00ZA
Description PROTECTOR, MUFFLER (OUTER) *NH105* (MAT BLACK)
Serial Range 1000001 - 9999999
Qty
Price $145.58
Add To Cart
Ref No 3
Part Number 06183-Z11-305
Description PROTECTOR KIT, MUFFLER (INNER)
Serial Range 1000001 - 1002902
Qty
Price $130.88
Add To Cart
Ref No 3
Part Number 06183-Z11-305
Description PROTECTOR KIT, MUFFLER (INNER)
Serial Range 1000001 - 1002902
Qty
Price $130.88
Add To Cart
Ref No 3
Part Number 18325-Z11-010
Description PROTECTOR, MUFFLER (INNER)
Serial Range 1002903 - 9999999
Qty
Price $139.28
Add To Cart
Ref No 4
Part Number 18333-ZB4-801
Description GASKET, EX. PIPE
Serial Range 1014174 - 9999999
Qty
Price $4.16
Add To Cart
Ref No 5
Part Number 18355-Z11-A30
Description ARRESTER, SPARK
Serial Range 1000001 - 9999999
Qty
Price $27.48
Add To Cart
Ref No 6
Part Number 18376-Z11-A00
Description INSULATOR, MUFFLER PROTECTOR (A)
Serial Range 1000001 - 9999999
Qty
Price $7.26
Add To Cart
Ref No 7
Part Number 18390-Z11-A00
Description PIPE, EX. TAIL
Serial Range 1000001 - 9999999
Qty
Price $68.52
Add To Cart
Ref No 8
Part Number 50388-Z11-000
Description RUBBER, STOPPER
Serial Range 1000001 - 9999999
Qty
Price $0.86
Add To Cart
Ref No 9
Part Number 90013-883-000
Description BOLT, FLANGE (6X12) (CT200)
Serial Range 1000001 - 9999999
Ref No 9
Part Number 90013-883-000
Description BOLT, FLANGE (6X12) (CT200)
Serial Range 1000001 - 1002902
Ref No 10
Part Number 91554-Z11-000
Description COLLAR, MUFFLER
Serial Range 1000001 - 9999999
Qty
Price $4.06
Add To Cart
Ref No 12
Part Number 94050-06070
Description NUT, FLANGE (6MM)
Serial Range 1000001 - 9999999
Qty
Price $1.82
Add To Cart
Ref No 13
Part Number 94050-08000
Description NUT, FLANGE (8MM)
Serial Range 1000001 - 9999999
Ref No 14
Part Number 95701-06010-00
Description BOLT, FLANGE (6X10)
Serial Range 1000001 - 9999999
Qty
Price $1.58
Add To Cart
Ref No 15
Part Number 95701-08020-00
Description BOLT, FLANGE (8X20)
Serial Range 1000001 - 9999999
Qty
Price $2.34
Add To Cart
Ref No 16
Part Number 06183-Z11-305
Description PROTECTOR KIT, MUFFLER (INNER)
Serial Range 1000001 - 1002902
Qty
Price $130.88
Add To Cart
Ref No 16
Part Number 06183-Z11-305
Description PROTECTOR KIT, MUFFLER (INNER)
Serial Range 1000001 - 1002902
Qty
Price $130.88
Add To Cart
Ref No 17
Part Number 90013-883-000
Description BOLT, FLANGE (6X12) (CT200)
Serial Range 1000001 - 9999999
Ref No 17
Part Number 90013-883-000
Description BOLT, FLANGE (6X12) (CT200)
Serial Range 1000001 - 1002902
Ref No 17
Part Number 95701-08016-00
Description BOLT, FLANGE (8X16)
Serial Range 1002903 - 9999999
Qty
Price $2.26
Add To Cart
Ref No 18
Part Number 94103-06000
Description WASHER, PLAIN (6MM)
Serial Range 1000001 - 1002902
Qty
Price $1.24
Add To Cart